Φ16型蜂鸣器

产品详情
型号 颜色 灯电压 外形尺寸
ADY16-16SM 红 R
绿 G
26-AC.DC 110V
27-AC.DC 127V
28-DC 220V

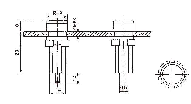
外形尺寸